
Parâmetros de especificação
Nossa válvula globo pneumática é adequada para dois modelos: DN: 15 e PN420
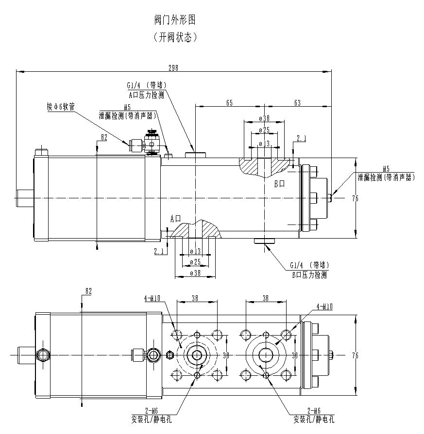
Modelo: ZF092-13-NC-00
Meios aplicáveis: Gases não corrosivos, como ar, nitrogênio, argônio, oxigênio, etc.
Temperatura média: -40~80 ℃
Temperatura ambiente: -40~60 ℃
Forma de função: Tipo aberto de ar normalmente fechado de ação simples
Pressão do gás de acionamento: 0,5~0,8 MPa
Material do corpo da válvula: latão
Material do núcleo da válvula: liga à base de níquel
Teste de resistência à tensão: 63MPa
Teste de estanqueidade ao ar: 46,2 MPa
Rosca interna personalizada (G3/4 "MAX) ou método de conexão soldada (phi 28MAX) de acordo com as necessidades do cliente
Peso: 10,5 kg
Tempo de vida: 50000 vezes
Se você precisar de um tipo normalmente aberto ou de ação dupla, entre em contato com o fabricante
Dimensões especiais de conexão exigem contato com o fabricante

As características das válvulas de corte pneumáticas:
1. Projeto estrutural equilibrado com baixa força de abertura e fechamento da válvula
2. Adequado para meio de oxigênio de alta pressão
3. Design exclusivo do núcleo da válvula cônica e estrutura de vedação, bom desempenho de vedação, baixo atrito e longa vida útil
4. Design estrutural exclusivo, fácil manutenção
5. Pequeno curso do interruptor e tempo curto de abertura e fechamento
6. Velocidade ajustável de abertura e fechamento da válvula para evitar perigos causados pelo impacto da velocidade do fluxo da tubulação

Shandong Shineeast Fluid Control Systems Co., Ltd., fundada em 2001, é um fabricante profissional de equipamentos de manuseio de fluidos e gases altamente projetados, projetados para gerar, armazenar e controlar gases e líquidos de alta pressão.
Além de oferecer uma linha abrangente de bombas para líquidos acionadas por ar, amplificadores de pressão de ar, amplificadores de gás acionados por ar, válvulas de alta pressão, conexões e acessórios, unidades de potência pneumáticas e prensas hidráulicas, máquinas de teste de pressão, equipamentos de teste de acessórios para válvulas e tubos, bombas de acabamento e equipamentos relacionados, equipamentos de teste de cilindros de gás e controles especiais e equipamentos de teste para campos de petróleo e gás, personalizamos e construímos unidades de energia pneumáticas e equipamentos de teste. Nossos principais locais de fabricação estão totalmente registrados na ISO9001 e CE.


Consulta On- line
Se você tiver alguma dúvida, entre em contato conosco e entraremos em contato o mais breve possível.
CONTATE-NOS
Utilize o formulário abaixo para entrar em contato.
Caso necessite de uma resposta entraremos em contato o mais breve possível.